|

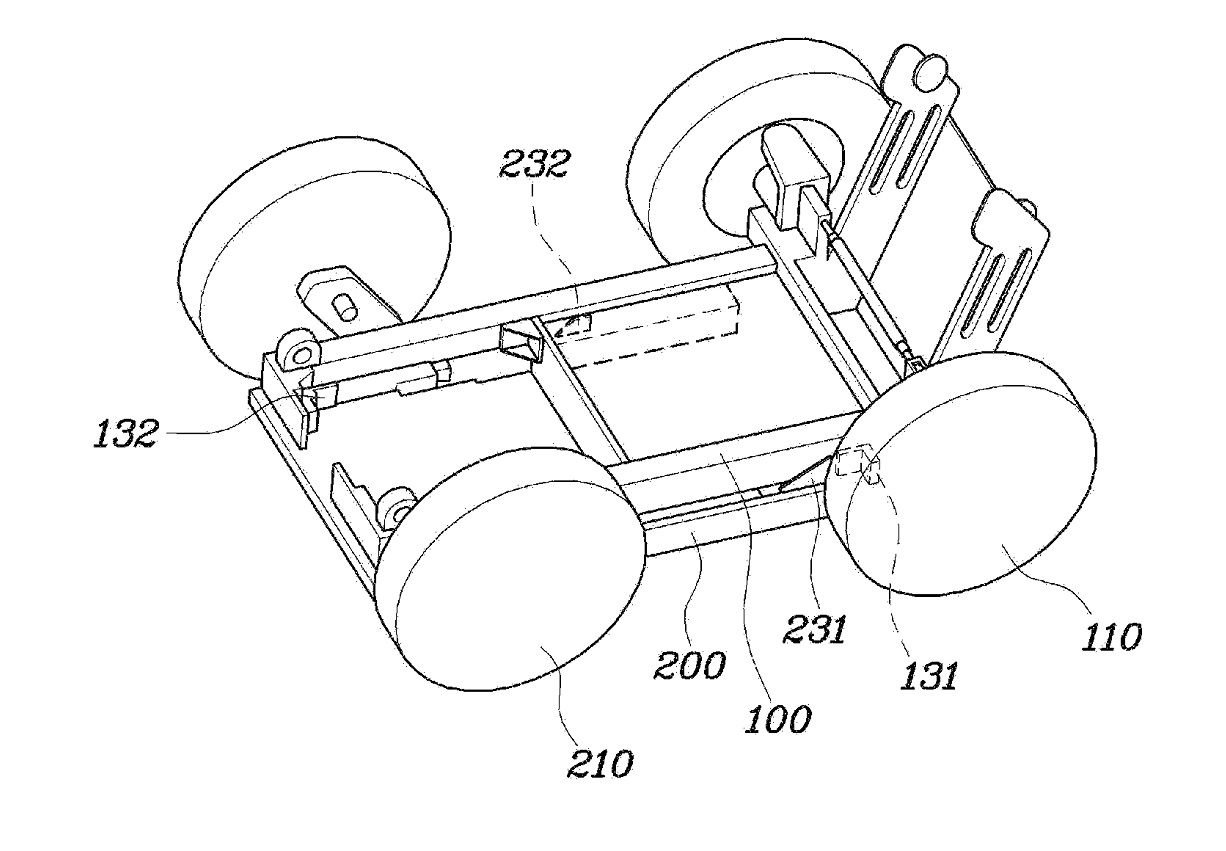
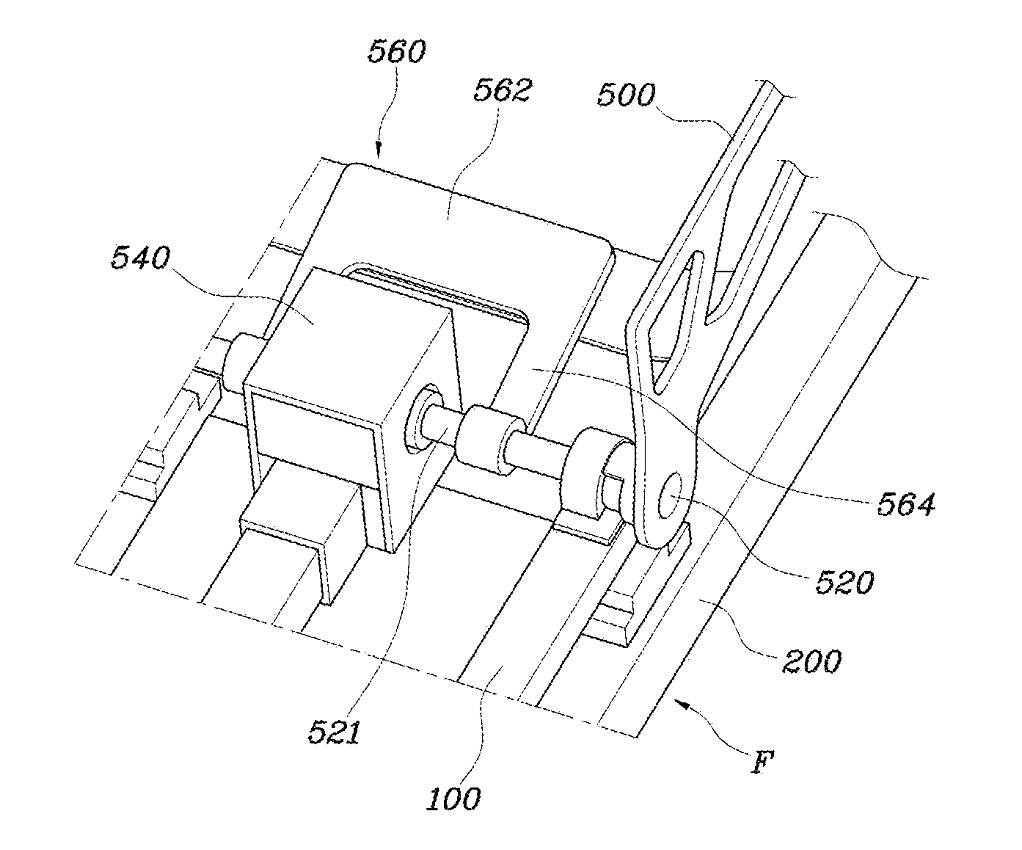
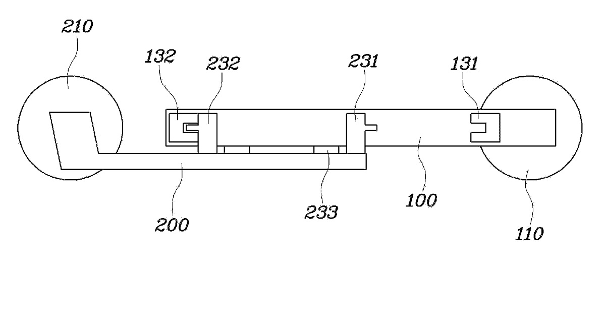
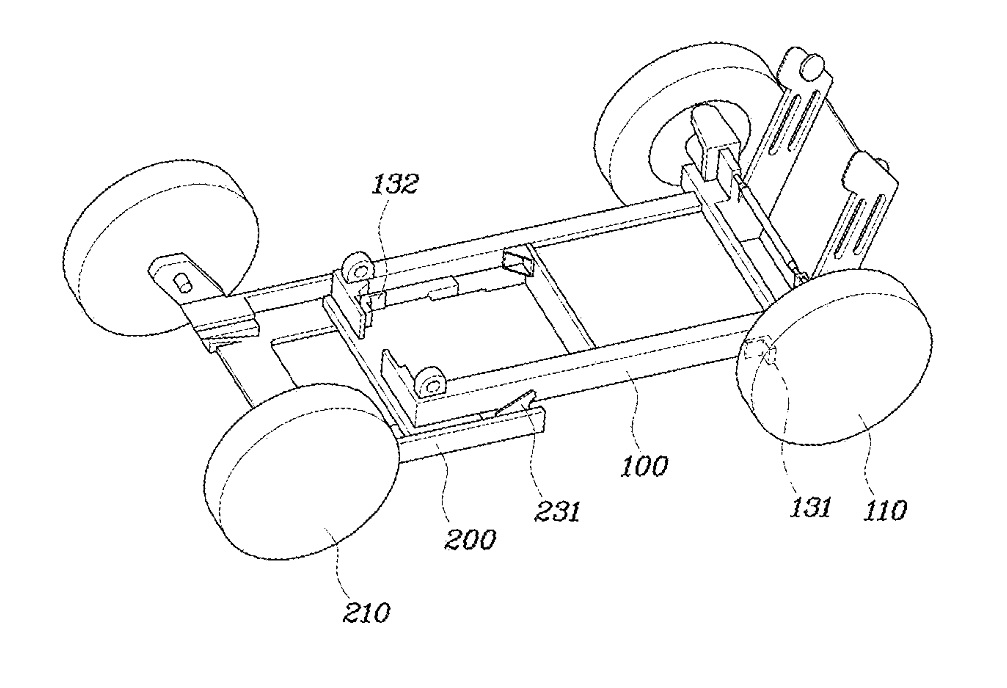
Hyundai представила новый патент, который показывает нам свои планы по созданию складывающихся автомобилей. Данная информация подтверждена патентным ведомством США и показывает нам как будет складываться авто. Модель будет иметь отдельные подвижные передние и задние стенки с крышей, которая аккуратно помещается в салон и тем самым уменьшается длина колесной базы.
замена лампочки ближнего света на форд фокус 3
Работа данного механизма подробно описана на чертежах и гифке выше. Эскизы показывают нам, как Hyundai ищет способы для решения проблем городских жителей, которые тратят кучу времени для поиска места для парковки.


Похожие новости
Комментировать
|